芯城品牌采购网 > 品牌资讯 > 产品资讯 > ADUM1201隔离芯片能否实现双向传输?ADI工程师告诉你
芯城品牌采购网
23341
ADUM1201隔离芯片能否实现双向传输?ADI工程师告诉你:
1.我看数据手册里的框架图,所以想将2和3并联,将6和7并联。这样可以实现I/O信号的隔离吗?

2.或者是在左侧和右侧都加上一个低导通电压的二极管,这样可以实现吗?

不是很建议这样做, 输入会被反向输出回来, 改变电平的时候,高低电平将短路。
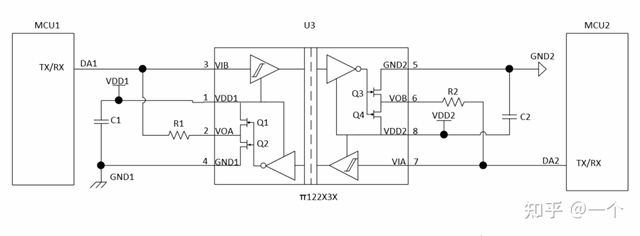
我们看到另外一款的隔离芯片,将二极管改成了电阻,由于阻抗的不同,这个是他们官方给出的方案,并且我查到他们还申请了这个专利。我不知道这种能不能应用于adum1201
您好! 您上面的图中的方案看起来是可行的. 这个里面输出增加了反相器,同时有Q1~4 可以在可以在合适的时候切断上拉的供电. 电阻R1 R2可以在电平切换的时候防止短路. 如果要将该方案用于ADuM1201, 您需要在输出追加反相器, 同时追加Q1~4 和R1~2等!

我们ADI还在网上发布一种方案,一个管子和2个二极管,实现了JLINK信号的双向传输。但是我不知道具体是怎么实现的
这可能需要您对照实物进行一步一步分析。 ADI有USB隔离器, 您可以参考一下, ADUM3165从USB上隔离隔离之后再连JLink也是一种办法。如果您的目的是隔离J-link的话。

免责声明:
文章内容转自互联网,不代表本站赞同其观点;
如涉及内容、图片、版权等问题,请联系2644303206@qq.com我们将在第一时间删除内容!